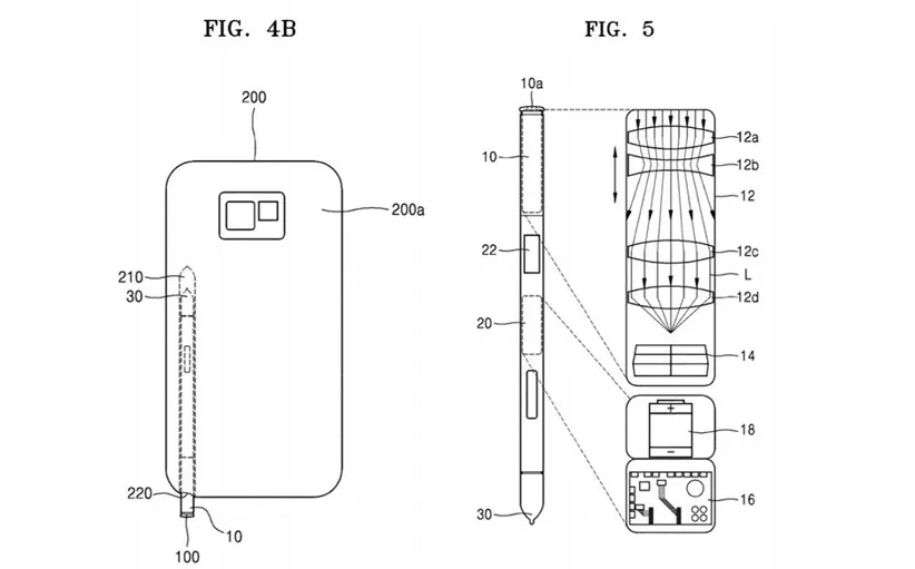
در ماه فوریه، پتنتی منتشر شد که در آن شاهد یکی از ویژگیهای احتمالی گلکسی نوت ۱۰ هستیم. در این پتنت، میتوانیم یک قلم S Pen مجهز به دوربین را مشاهده کنیم. طبق این اسناد، نور از بخش فوقانی یا یکی از بخشهای جانبی قلم وارد سنسور موردنظر میشود و ظاهراً از توانایی زوم اپتیکال هم بهره میبرد.
البته هنوز نمیدانیم که سامسونگ برای این قلم چه نقشههایی دارد. آیا این شرکت میخواهد با این کار دوربین سلفی گلکسی نوت ۱۰ را حذف کند یا اینکه با این کار میخواهد بهرهگیری از دوربین زوم قدرتمندی که نمیتوان آن را در گوشی تعبیه کند، امکانپذیر کند. در هر صورت، قرار دادن دوربین در قلم S Pen در حال حاضر چندان منطقی نیست و در ادامه دلایل این موضوع را مطرح میکنیم.
قلم S Pen فضای کافی ندارد
ما نمیگوییم که سامسونگ نمیتواند در قلم گلکسی نوت ۱۰ نمیتواند یک دوربین را تعبیه کند. یک کمپانی به وسعت سامسونگ مطمئناً قادر به تعبیه دوربین در انواع و اقسام گجتها است. اما در این زمینه مشکلی که وجود دارد این است که قلم S Pen آنقدر بزرگ نیست که بتوان دوربین باکیفیتی را در آن تعبیه کرد.

قلم S Pen عرضه شده با گلکسی نوت ۹ از لحاظ ضخامت ۵.۷ در ۴.۳۵ میلیمتر اندازه دارد. برای مقایسه باید بگوییم که کوچکترین ماژول دوربین در گلکسی اس ۱۰، دوربین ۱۰ مگاپیکسلی سلفی است که با حساب لنزها و دیگر تجهیزات، ۸.۷ در ۸.۷ میلیمتر ضخامت دارد. مطمئناً چنین دوربینی نمیتواند در یک قلم S Pen استاندارد برای گلکسی نوت ۱۰ تعبیه شود.
ارتباط مشکلزا خواهد بود
اما بیایید فرض کنیم که سامسونگ قلم S Pen گلکسی نوت ۱۰ را کمی بزرگتر میسازد یا اینکه مثلاً با بهرهگیری از سنسور بسیار کوچک ISOCELL Slim 3T2 بتواند دوربین بسیار کوچکی را تعبیه کند. اندازه قطر این سنسور تنها ۵.۱ میلیمتر است و حتی زمانی که لنزها و دیگر تجهیزات اطراف آن قرار بگیرد، احتمالاً میتواند در فضای محدود قلم استایلوس قرار بگیرد. شاید با این کار فکر کنید که مشکل حل میشود، ولی باید بگوییم که اوضاع به این سادگیها نیست.

دوربین درون قلم S Pen بالاخره باید به نحوی با گلکسی نوت ۱۰ ارتباط برقرار کند که مطمئناً این ارتباط بهصورت بیسیم خواهد بود. در چنین ارتباطی، قلم نهتنها باید بتواند بهصورت زنده اطلاعات بصری را انتقال دهد، بلکه عکسهای ثبت شده هم باید با سرعت زیادی به حافظه گوشی منتقل شود. بلوتوث برای چنین هدفی سرعت کمی دارد و Wi-Fi Direct هم که در دوربینهای دیجیتالی مدرن مورد استفاده قرار میگیرد، گاهی اوقات دارای تأخیر در عملکرد است. در مورد دیگر استانداردهای بیسیم مانند موردی که اسنشال فون برای دوربین ۳۶۰ درجه خود استفاده میکند یا الجی V50 که برای کیس دو نمایشگره مورد استفاده قرار میدهد، تنها برای فواصل بسیار کم جوابگو است.
معضل عمر باتری
اما بیاید بار دیگر فرض کنیم که سامسونگ هم این مشکل را به نحوی برطرف کرده زیرا در سال ۲۰۱۹ هستیم و پیشرفت تکنولوژی هیچوقت به اتمام نمیرسد. متأسفانه، باید بگوییم که دوام باتری قلم S Pen همچنان معضل مهمی خواهد بود.
قلم S Pen گلکسی نوت ۹ به جای باتری معمولی، از ابرخازن استفاده میکند. این وسیلهی ذخیره انرژی خیلی سریع شارژ میشود و نسبت به باتری لیتیوم یونی معمولی شارژ را به مدت بیشتری نگه میدارد. با این حال، ظرفیت شارژ آن اصلاً قابل مقایسه با باتریهای هماندازه خود نیست و به عنوان مثال با هر بار شارژ میتوان تا ۲۰۰ بار از دکمه آن استفاده کرد. مطمئناً چنین باتریای نمیتواند به اندازه کافی یک قلم دارای ارتباط سریعتر از بلوتوث را تأمین کند.

برای تعبیه دوربین در قلم S Pen، سامسونگ به جای ابرخازن باید از یک باتری نسبتاً بزرگ استفاده کند و تقریباً راهی برای دور زدن این مشکل دیده نمیشود. شارژ باتری معمولی هم مدت بیشتری به طول میانجامد و در ضمن بعد از چند سال استفاده دوام آن تا حد زیادی کاهش مییابد و مطمئناً تعویض باتری چنین قلمی چندان ساده نخواهد بود.
آیا در حال حاضر این ایده عملی است؟
در حال حاضر، و با توجه به شواهدی که در این مطلب به آنها اشاره کردیم، باید بگوییم که چنین ایدهای هنوز عملی به نظر نمیرسد. اما شاید سامسونگ با اتخاذ رویکردی جدید بتواند آن را انجام دهد. شاید این دوربین قرار نیست که بهعنوان یک دوربین جداگانه مورد استفاده قرار بگیرد و عمدتا قرار است بهعنوان نوعی دوربین پاپآپ انجام وظیفه کند که اطلاعات و انرژی آن هم از طریق پینهای فلزی تأمین میشود. اگرچه چنین ایدهای تا حد زیادی دیوانهوار است، ولی شاید در نهایت مورد استقبال هم قرار بگیرد.
با این وجود ما همچنان فکر میکنیم که به احتمال زیاد برای گلکسی نوت ۱۰ شاهد عملی شدن این ایده نخواهیم بود زیرا بر اساس پیشرفتهای فعلی، تکنولوژی تعبیه یک دوربین با کیفیت در فضای محدود قلم S Pen احتمالاً هنوز وجود ندارد. البته امیدواریم که این پیشبینی اشتباه از آب دربیاید و سامسونگ همهی ما را غافلگیر کند.
منبع: Phone Arena
The post تعبیه دوربین در قلم گلکسی نوت ۱۰ چندان منطقی نیست appeared first on دیجیکالا مگ.